振動篩12年生產廠家
過濾,除雜,分級

石英砂是一種堅硬、耐磨、化學性能穩定的矽酸鹽礦物,石英砂是石英石經破碎加工而成的石英顆粒。 石英砂的顏色為乳白色、或無色半透明狀,硬度7,性脆無解理,貝殼狀斷口,油脂光澤,密度為2.65,堆積密度(1-20目為1.6),20-200目為1.5。石英砂生產流程中要使用振動篩分設備進行石英砂的分級篩選。

石英砂振動篩常用規格有:0.5-1mm、1-2mm、2-4mm、4-8mm、8-16mm、16-32mm、10-20目、20-40目、40-80目、100-120目。大漢振動篩廠家客戶使用的直徑1500型三層振動篩在石英砂行業廣泛應用,篩分產量大,效率高。

石英砂振動篩的特點:
1.效率高、產量大、設計精巧耐用。
2.換網容易、操作簡單、清洗方便。
3.網孔不堵塞、粉末不飛揚。
4.雜質、粗料自動排出,可以連續作業。
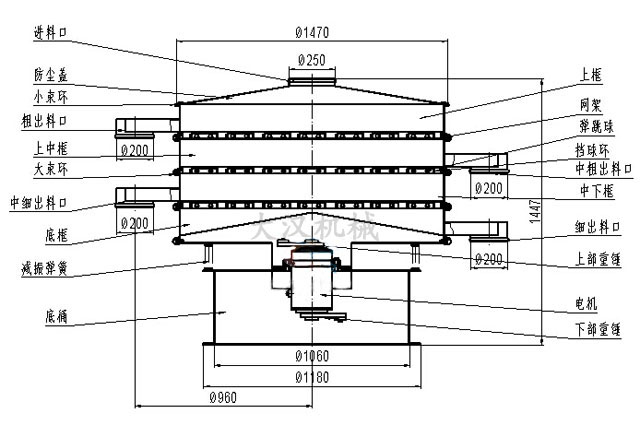
石英砂振動篩外形結構和技術參數:


石英砂振動篩的工作原理:
石英砂分級振動篩由直立式振動電機作為激振源,電機上、下兩端安裝有偏心重錘,將電機的旋轉運動轉變為水平、垂直、傾斜的三次元運動,再把這個運動傳遞給篩麵進行篩分。調節上、下兩端的相位角,可以改變物料在篩麵上的運動軌跡。大漢振動篩廠家可根據客戶需求設計特殊型號,無論物料是幹是濕,是精細是粗糙,是比重大是比重輕,0-400目都可以篩選,不管是液態,還是漿狀的0-600目都可以過濾。大(da)漢(han)振(zhen)動(dong)篩(shai)係(xi)列(lie)產(chan)品(pin)同(tong)時(shi)配(pei)備(bei)專(zhuan)門(men)的(de)篩(shai)網(wang)清(qing)理(li)裝(zhuang)置(zhi),把(ba)堵(du)網(wang)率(lv)降(jiang)到(dao)低(di),過(guo)網(wang)率(lv)和(he)處(chu)理(li)精(jing)度(du)得(de)以(yi)有(you)效(xiao)提(ti)高(gao)。大(da)漢(han)機(ji)械(xie)具(ju)備(bei)特(te)殊(shu)型(xing)號(hao)製(zhi)造(zao)的(de)能(neng)力(li)讓(rang)顧(gu)客(ke)有(you)更(geng)多(duo)的(de)選(xuan)擇(ze)。
