振動篩12年生產廠家
過濾,除雜,分級

75mm/100mm/200mm/300mm 直徑:
125mm-20μm網孔尺寸:
≤200g投料量:
特點:具備0-99分鍾定時功能,可確保試驗的重複性和一致性。
篩框材質:不鏽鋼/尼龍/黃銅
篩網類型:金屬絲編織網(2.36mm-0.02mm)、衝孔板篩網(用於大網孔,≥0.2mm)、電成型篩網(高精度:500mm-5μ)

全國統一銷售熱線




實驗室振動篩是指用在科研生產、試驗室、質檢室以及高等院校試驗室對顆粒狀、粉狀物料的粒度結構、液態類固體物含量及雜物量的篩分、過濾、檢測,篩框的直徑常見的多為200mm或者300mm,也可以根據客戶要求定製成400mm,配備時間繼電器,0-99分鍾定時功能,可確保試驗重複性,可將一種顆粒料同時精密分出2—7個粒子段,具有噪音小、重量輕、平台操作無須固定等特點。

實驗室用300/200型試驗篩國標分析篩又稱300試驗篩或200試驗篩、實驗檢驗篩、標準分析篩、國標試驗篩、實驗室振動篩、試驗室振 動篩、數控試驗篩、數顯試驗篩、驗粉篩、標準篩,是集粉粒分級、液體過濾為一體的標準分析篩;適用於實驗室,質檢室對顆粒、粉類進行粒度結構分析,液 體類固形物含量及雜物量的測試分析。具有噪音低、效率高、精度高等特點。



實驗室振動篩可用於各級高校、研究院等實驗室中測量粒度,可以快速有效地測量125 mm至20μm的固體顆粒尺寸。可以使用孔徑小於20μm的特殊篩網,但應了解,篩網越細,某些類型的顆粒狀固體就越容易堵塞或堵塞孔徑。然而,使用特殊技術可以進行"微"篩分至 5 μm。

實驗室振動篩分為常規機型(200mm、300mm、400mm等型號)、超聲波實驗室振動篩、拍擊式振動篩、磁懸浮實驗室振動篩等四種。
超聲波實驗室振動篩:是在常規機型上增加了超聲波篩分係統,檢驗精度更高更準確,是當前實驗室在做微細粉分樣篩選時網孔堵塞的常用檢驗設備。
拍擊式振動篩:同時具備拍擊和往複兩種振動形式,下料快、不易堵塞,適合實驗室對物料進行篩分檢測,尤其適用於金剛石微粉、超硬材料行業生產分級工序,高強度、大頻率地反複使用。
磁懸浮實驗室振動篩:涵蓋了機械物理振動和高頻電磁振動,集三功能為一體——上下振動、前後往複運動、左右搖擺,使物料在內產生了往複懸轉運動,篩分任何物料都不會殘留在網孔上,細可篩至5微米。

| 序號 | 名稱 | 單位 | 數據 | |
| 01 | 標淮篩體 | 層 | 8 | |
| 02 | 篩體直徑 | mm | φ200 φ100 φ75 | |
| 03 | 篩分粒度 | mm | 0.038-5 | |
| 04 | 噪音 | dB | ≤50 | |
| 05 | 投料量(—次性) | Kg | ≤1 | |
| 06 | 振幅 | mm | ≤5 | |
| 07 | 電機 | 電壓 | V | 220 |
| 轉速 | r/min | 1420 | ||
| 功率 | kw | 0.125 | ||
| 08 | 外形尺寸 | mm | 360×300×736 | |
| 09 | 整機重量 | Kg | 25 | |
實驗室振動篩檢測醫藥顆粒
超聲波試驗篩篩分藥粉
拍擊式振動篩篩分土壤

實驗室振動篩振動原理:以YZU立(li)式(shi)振(zhen)動(dong)電(dian)機(ji)作(zuo)為(wei)整(zheng)機(ji)振(zhen)動(dong)源(yuan),通(tong)過(guo)振(zhen)動(dong)電(dian)機(ji)帶(dai)動(dong)上(shang)部(bu)振(zhen)動(dong)盤(pan)振(zhen)動(dong),再(zai)通(tong)過(guo)振(zhen)動(dong)盤(pan)傳(chuan)導(dao)至(zhi)安(an)放(fang)在(zai)振(zhen)動(dong)盤(pan)上(shang)部(bu)篩(shai)框(kuang)上(shang),然(ran)後(hou)由(you)需(xu)要(yao)檢(jian)測(ce)目(mu)數(shu)的(de)篩(shai)框(kuang)把(ba)小(xiao)於(yu)篩(shai)網(wang)孔(kong)徑(jing)的(de)物(wu)料(liao)顆(ke)粒(li)篩(shai)分(fen)至(zhi)下(xia)層(ceng)篩(shai)框(kuang),如(ru)此(ci)層(ceng)層(ceng)篩(shai)選(xuan),使(shi)每(mei)層(ceng)篩(shai)框(kuang)內(nei)隻(zhi)留(liu)相(xiang)同(tong)粒(li)度(du)的(de)物(wu)料(liao),達(da)到(dao)不(bu)同(tong)粒(li)度(du)的(de)分(fen)離(li)並(bing)確(que)定(ding)此(ci)物(wu)料(liao)的(de)粒(li)度(du)組(zu)成(cheng),使(shi)篩(shai)框(kuang)中(zhong)的(de)物(wu)料(liao)能(neng)非(fei)常(chang)有(you)效(xiao)的(de)起(qi)到(dao)過(guo)濾(lv)、分級、篩分目的。




1、開口尺寸為5英寸(125毫米)至635目(20微米),篩分精度高。
2、可單個使用,也可堆疊8層使用(含篩底),可將一種物料連續分成7種不同規格的粒子段。
3、篩框采用SUS304不鏽鋼材質拉伸拋光而成,壁厚0.6mm,光澤均勻一致,堅固耐用,無磁性。
4、篩網與篩框通過錫焊成型固定,杜絕鬆弛晃動問題,可在>300度溫度穩定作業。
5、可裝有自動控製定時器,可設定1-99分鍾,確保實驗的重複性、一致性。

人工手篩費時,勞動強度大,"機械篩分"將篩子按孔徑大小疊在一起,給料放在上麵一層篩子上,並加上蓋和底盤,一般疊5-6個篩子,然後放在實驗室振動篩上進行機械振動篩分。通常振動時間為20分鍾,檢測篩分質量時,再用篩機5分鍾,如每分鍾篩下量小0.2%試驗樣量即為合格,對於粗粒,過篩率小於1%即可。為避免損失和延長篩分時間,有時在開始篩分時先用較細的篩子將粉塵篩除。

| 數目 | 網孔(mm) | 數目 | 網孔(mm) | 數目 | 網孔(mm) | 數目 | 網孔(mm) |
| 2 | 13 | 26 | 0.71 | 90 | 0.16 | 260 | 0.06 |
| 3 | 6.5 | 28 | 0.63 | 100 | 0.154 | 280 | 0.055 |
| 4 | 5 | 30 | 0.6 | 110 | 0.14 | 300 | 0.054 |
| 5 | 4 | 32 | 0.55 | 115 | 0.13 | 320 | 0.048 |
| 6 | 3.2 | 36 | 0.5 | 120 | 0.125 | 325 | 0.045 |
| 7 | 2.8 | 40 | 0.45 | 130 | 0.111 | 350 | 0.041 |
| 8 | 2.5 | 45 | 0.4 | 140 | 0.105 | 360 | 0.4 |
| 9 | 2.2 | 50 | 0.355 | 150 | 0.1 | 400 | 0.0385 |
| 10 | 2 | 55 | 0.315 | 160 | 0.098 | 500 | 0.03 |
| 12 | 1.6 | 60 | 0.3 | 180 | 0.09 | ||
| 14 | 1.43 | 65 | 0.25 | 190 | 0.08 | ||
| 16 | 1.25 | 70 | 0.22 | 200 | 0.075 | ||
| 18 | 1 | 75 | 0.2 | 220 | 0.07 | ||
| 20 | 0.9 | 80 | 0.18 | 240 | 0.065 | ||
| 24 | 0.8 | 85 | 0.17 | 250 | 0.063 | ||
| 不鏽鋼分樣篩規格,如需特殊規格可聯係在線客服谘詢 | |||||||


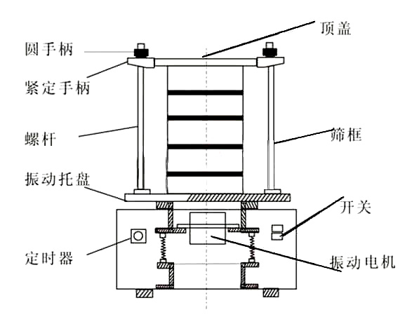
1、設備要水平放置,確認電源和銘牌要求相符,並確保接地;注意振動部分不能與其它物體接觸;檢查各部螺栓是否鎖緊。
2、根據被檢驗物料及相應的標準來確定要選用的標準篩框。
3、把實驗室振動篩篩框按孔徑從小到大,從下到上依次疊放到試驗篩機振動盤上。
4、將jiang被bei檢jian驗yan物wu料liao放fang入ru上shang端duan的de標biao準zhun篩shai框kuang裏li,蓋gai上shang標biao準zhun篩shai上shang蓋gai,根gen據ju標biao準zhun篩shai框kuang的de總zong高gao度du調tiao整zheng調tiao節jie杆gan高gao度du,然ran後hou用yong壓ya板ban和he鎖suo緊jin螺luo母mu對dui標biao準zhun篩shai框kuang進jin行xing定ding位wei壓ya緊jin(注:兩側用力應一致)。
5、根據物料性質及投料量,在定時器上設定運行時間,然後打開電源開關,標準篩即開始工作。
6、試驗篩工作停止後,擰開鎖緊螺母,取下壓板,小心取走標準篩框。
7、切斷電源。